警示语:
a、不得改变设备的本安电路及与本安电路有关的电器元件的名称、型号、规格及其参数!
b、未经联机检验合格的设备不得与其连接!
本产品
经国家法定权威机构机关审查及检验,并通过防爆合格检验。
防爆标志:Ex ib IIC T4 Gb
1概述
TABJ-100型声光报警器是气体检测仪器中必要的装置,它主要接受来自气体检测仪的报警信息,并进行报警或停止报警。本公司生产的声光报警装置具有高、低两档报警功能。
2技术参数
工作电压 | DC 12V |
报警音量 | >90dB |
灯光亮度 | ≥100Lm |
工作模式 | 二级声光报警 |
额定输入电压 | DC 12V |
额定输入电流 | 0.01A |
额定功率 | 0.12W |
最大输入电压 | DC 12V |
最大输入电流 | 0.01A |
最大输出功率 | 0.12W |
工作温度 | -20℃~+50℃ |
相对湿度 | 10%RH~90%RH (无冷凝) |
外部电源报警电流(有效值) | ≤80mA |
外壳防护等级 | IP66 |
颜色 | 白色不锈钢本体,红色灯罩 |
螺纹接口 | 16mm×1.5mm |
外形尺寸 | φ50mm×100mm |
质量 | XXX |
防爆等级 | Ex ib IIC T4 Gb |
3基本功能
当声光警报器接收到控制器发出的报警信号时,对于高、低两种报警信号,分别发出两种不同频率的两种声光警报信号。
4结构特
征
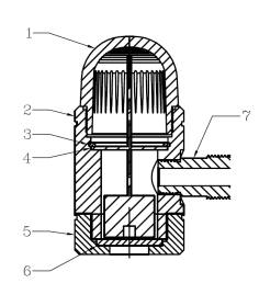
声光警报器由上壳和底座部分两部分组成,具有结构简单、安装使用方便等特点。安装孔位置如图1所示。

图1 声光报警器结构图
表1 声光报警器部件
序号 | 部件名称 | 材料 |
1 | 灯罩 | PC |
2 | 中室 | 不锈钢 |
3 | 卡簧 | ABS |
4 | 线路板 | PCB板 |
5 | 底 | 不锈钢 |
6 | 隔爆片 | 透气不锈钢珠 |
7 | 六角螺纹 | 不锈钢,16mm×1.5mm |
5使用与维修
(1)功能:可实现两级声光报警,当需要低频率声光报警时声光报警器仅通过红线、黑线供电即可;当需要高频率声光报警时除通过红线、黑线供电外,控制信号线同时也要供电(高电平:5V~12V)。
(2)接线方式:如表2所示,红、黑、黄分别接电源正、电源负、控制信号线,红线接直流12V、黑线接地、黄色接控制信号(当需要高频率声光报警时,控制信号线接直流5V~12V的高电平)。
表2 接线方式
序号 | 颜色 | 类型 | 功能 | 供电范围 |
1 | 红 | 电源 | 供电 | 12V(DC) |
2 | 黑 | 地线 | 接地 | 0V |
3 | 黄 | 控制线 | 高频率报警控制线 | 5V~12V(DC) |

图2 声光报警器实物图
注:
(1)本产品不应安装在阳光直射或有强光的地方,以免报警时看不到闪光灯。
(2)声光警报器需连续长期运行,必须严格地定期对其进行功能试验,要建立定期检查、维修制度,若功能失常,请勿自行拆开修理,应立刻更换新的声光警报器,同时将损坏的送回我厂修理。